
Оснащение линейки MacBook магнитными разъёмами MagSafe было только первым шагом. Впереди — кое-что поинтересней и поуниверсальней.
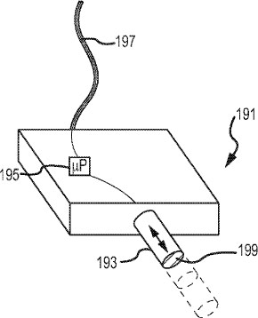
Apple подумывает над установкой в будущие поколения мобильных устройств “продвинутой” вариации MagSafe. Зарегистрированный на днях патент описывает разъём, который, условно говоря, может сам себя перенастраивать. При подключении кабеля контроллер внутри устройства сначала определит его тип, а затем перепрограммирует его под собственные нужды. Если такая технология приживётся, Apple со временем сможет сделать коннекторы на всех устройствах схожими по конструкции и совместимыми друг с другом. А вы, в свою очередь, сможете беспрепятственно подключить к iPad кабель питания от MacBook. Сжечь разъём не получится, поскольку кабель будет мгновенно перенастроен под более скромные нужды планшетника.
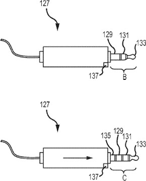
Перенастроен — но как? Идёт ли речь только об изменении электрических характеристик? Нет, здесь “зарыто” нечто большее. Контакты «умного» разъёма будут выдвижными. Пример тот же: вы подключили кабель от устройства номер 1 к устройству номер 2. В итоге часть контактов оказались не у дел — девайсу соединение с ними не требуется. Тогда эти самые бесхозные контакты просто останутся внутри разъёма, в то время как остальные выдвинутся и обеспечат стабильный “коннект”.
Выдвинутся — опять же, как? Посредством магнитов! Специальным образом меняя их полярность, можно будет либо соединять контакты, либо, наоборот, держать их на расстоянии. Разъём вдруг начал перегреваться? Изменили полярность, соединение пропало, кабель отключился и упал под стол. Без участия человека. Кроме того — если в отключенном состоянии контакты окажутся скрыты внутри кабеля, их будет сложнее повредить:

У магнитных разъёмов есть и ещё одно достоинство. Они лучше защищают устройство от проникновения воды. Проектировщикам обычных разъёмов приходится предусматривать крепление, иначе их соединение будет ненадёжным. Необходимость в креплении означает лишний конструктив, который не слишком-то способствует герметичности. Тем же, кто занимается магнитными коннекторами, о креплении думать не нужно, благо кабель прекрасно держится на самих же магнитах. Поэтому внутри 30-пинового и аудио-разъёмов часто (хоть и не всегда) можно обнаружить датчик влаги, а вот в MagSafe вы его никогда не встретите.

Возвращаясь к вопросу о выдвижном штекере — взгляните-ка на мини-джек, что справа. На нём много сегментов, но “вылезет” ли наружу последний — зависит от того, к какому устройству вы его подключите. Более функциональное устройство (скажем, iPad) будет использовать 4 контакта, менее функциональное (iPod nano) — только 3. И всё это — во благо совместимости, чтобы любой кабель работал с любым девайсом. [fpo via ai.com]

О да, давно мечтаю в iPad’e MagSafe