Несмотря на то, что iPhone 7 получил водозащищенный корпус, он все ещё не подлежит гарантии. Всё может измениться с выходом нового флагмана.
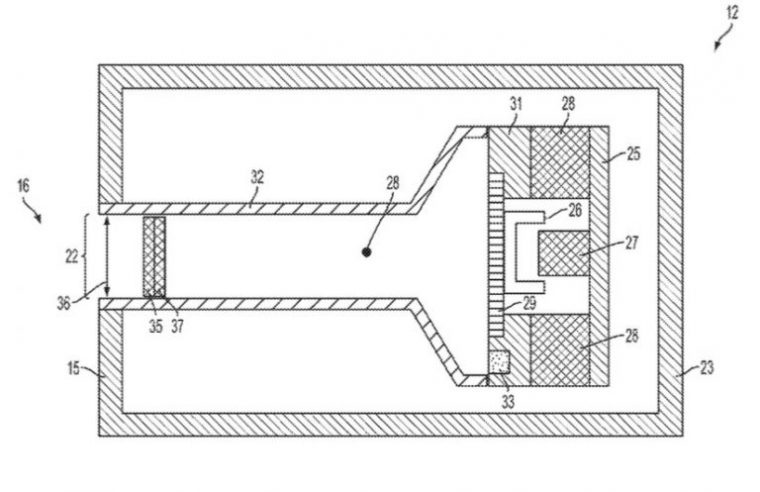
На днях Бюро патентов и торговых марок США опубликовало патент Apple на технологию, способную выталкивать воду с помощью звука. Идея «Hydrophobic Mesh Cover» (название патента) заключается в том, чтобы наделить гидрофобными свойствами элементы в пределах акустических отверстий (динамиков или микрофонов) путем специальных звуковых колебаний.

Купертиновцы предлагают использовать специальные звуковые частоты, которые и выталкивают воду из iPhone, по аналогии с Apple Watch. Только там для этого установлен специальный механизм.
К слову, в App Store уже есть специальное приложение, выполняющее аналогичную функцию. Называется оно Sonic и работает на частоте 165 Гц.

Вы забыли написать про Соник, там выставить частоту необходимую можно поседеть))