Apple не перестаёт штамповать патенты. И на этот раз он коснулся складного корпуса iPhone.
Правда, калифорнийский гигант не оказался инноватором в этой области, его уже успели опередить Samsung и Xiaomi с гнущимися корпусами и экранами.

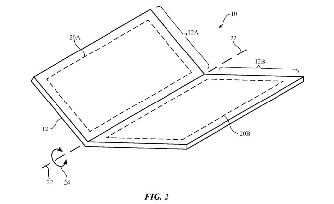
Судя по патенту, в корпус смартфона будут интегрированы нанотрубки.
Нанотрубки могут быть интегрированы в гибкие кабели печатной схемы, твердые печатные платы, печатные схемы, включающие твердые части с гибкой структурой, части структур дисплея, части датчиков прикосновения для дисплеев или сенсорных панелей, камеру, антенны и другие структуры. – выдержка из патента
Разработка состоит из двух панелей, соединенных между собой нанотрубками. Каждая из плат выступает в роли OLED-дисплея. За счёт чего устройство можно сложить пополам.
В патенте отмечается, что такая технология вполне может появиться в будущем поколении iPhone. [Patently Apple]



*опу подтирать очень удобно будет