На это косвенно указывает свежий патент Apple.
В рамках модернизации системы воспроизведения аудио в новых моделях iPhone компания не ограничится отказом от 3,5-миллиметрового разъема для наушников, как сообщили на прошлой неделе китайские поставщики компании.
Специалистам Apple, похоже, удалось найти компромисс при неизбежном выборе между малой толщиной устройства или большими динамиками для более качественного звука.
Новый патент Apple, опубликованный Американским бюро по патентам и торговым маркам (USPTO), описывает технологию повышения качества воспроизведения и уровня громкости за счет использования встроенных динамиков нового типа.

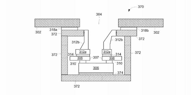
Принцип оптимизации звука при сохранении компактности устройства достаточно прост. Все внутреннее пространство корпуса смартфона будет представлять собой единую акустическую систему, а в роли ее отдельных элементов будут задействованы как динамики, так и микрофоны.
Патент представляет два варианта создания такой системы. В первом из них аудиоэлемент будет установлен в непосредственной близости с промежуточной структурой (например, гибкой подложкой), пропускающей через себя звук.

Акустическая камера в другой конфигурации направляет аудиосигнал между внешней стенкой корпуса и гибкой электронной подложкой. Звуковой элемент в этом случае крепится непосредственно на нее. Таким образом, внутренние компоненты смартфона (та же материнская плата) выполняют функции части динамика. [9to5Mac]



если будет реальный отказ от 3,5mm то 6ы мой последний айфон. без музыки в нём теряется смысл, а сменить westone um30 на что либо аналогичное, но цифровое – будет накладнопроблематично :/
@supchik, Ничего страшного,можно переходник купить)
Вспомните как с разьёма 30pin переходили.
@mastakilll, c 30pin я перешёл как то безболезненно, но тут есть хорошие вещи которые станут совместимы со всем, кроме нового телефона.
переходник купил только 1 в машину тк там фирменный провод который и играет и заряжает :)
@supchik, Вы westone с айфоном слушаете???
@haritolia, и с ним тоже. причём чаще чем предполагал.
@supchik, я вот тоже приобрел тут Sony xba A3 , что то нехочу я без 3.5 джека айфон. И переходники меня не привлекают вообще.