
Инженеры Apple свой хлеб едят не зря: практически каждую неделю Патентное Бюро США утверждает ряд заявок, поступающих от компании из Купертино. Одной из таких разработок стал документ под номером 8903519, описывающий «защитный механизм для электронного устройства». Суть технологии заключается в минимизации физических повреждений при падении смартфона на твердую поверхность.
Тенденция к уменьшению толщины смартфона, с одной стороны, привлекательна с точки зрения дизайна и удобства при повседневном использовании. С другой, слишком тонкое устройство с большей вероятностью может выскользнуть из рук, а дальше – как повезет: незначительные вмятины от падения на одну из граней или дорогостоящая замена экрана при падении плашмя.

Предложенная Apple технология позволяет предупредить падение смартфона. Использование данных, получаемых от акселерометра, гироскопа и модуля GPS уже сегодня позволяет определить, что устройство находится в «свободном падении». Полученные данные мгновенно обрабатываются процессором, а установленный защитный механизм, представленный миниатюрным моторчиком со смещенным центром тяжести, тут же меняет расположение смартфона в воздухе и угол его падения. Таким образом, всю силу тяжести при ударе на себя может принять самая прочная часть корпуса.
Для осуществления работы вышеописанного механизма, в будущих поколениях iPhone можно обойтись и без установки дополнительного мотора. Ответственность за смену положения смартфона при падении на себя может взять установленный вибродатчик. Для этого достаточно повысить скорость его вращения и рассчитать оптимальное месторасположение.
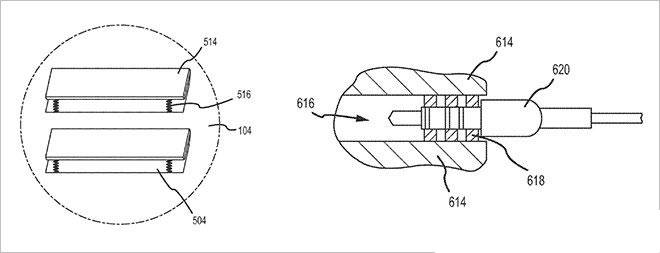
Предотвратить падение смартфона Apple предлагает и с помощью порта для наушников «миниджек». В момента падения, установленный в порт штекер будет блокироваться, удерживая ведущий к наушникам провод и не позволяя смартфону упасть на землю. [appleinsider]





Приложение iphones перестало работать на 8.1.1, планируете пофиксить? Или можно удалять его?)
@Gomer, пишу от имени разработчика: “Удаляй”.
@dvoryakanton, прям напомнило известный анекдот:
(официант) – Здравствуйте, что будете заказывать?
(посетитель) – А вы что посоветуете?
(официант, громким шепотом) – Уходите…