
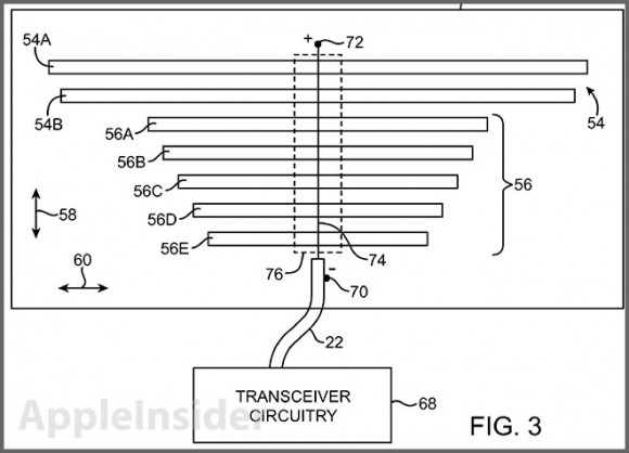
С каждой новой итерацией портативные устройства становятся все тоньше. Пространство под корпусом девайса тоже уменьшается, поэтому перед дизайнерами встают новые задачи по размещению его составляющих. На днях Бюро Патентов и Торговых Марок США (USPTO) выдало компании Apple патент под номером 8.373.610, который получил название «Антенны microslot для электронных устройств».

Новая технология может успешно быть применена в производстве смартфонов. Антенны планируется сделать очень тонкими, поэтому они смогут быть прикреплены к корпусу устройства, что позволит выгадать больше места для размещения аккумулятора и других составляющих. Толщина составит несколько сотен микронов, в то время как длина будет исчисляться в миллиметрах.

Заявка на патент была подана Apple еще в 2007 году. Это произошло через 6 месяцев после появления iPhone на рынке. Над антеннами трудились Бинг Чанг, Грегори Спрингер, Дуглас Коф, Энрике Аяла и Мэттью Макдональд. Перечисленные личности и были указаны в качестве изобретателей.
Вполне вероятно, что применение новой технологии мы увидим уже в следующей версии iPhone. []

10 комментариев