
В этот раз у нас не так уж много новых патентов от «яблочной компании», но каждый из них достоин самого пристального внимания. О двусторонней читалке мы уже поговорили. Одно дело — дисплеи на основе электронных чернил, и совсем другое — 3D-экраны, популярность которых начинает падать. По мнению Apple, большинство стереоскопических дисплеев непрактичны и не подходят для ежедневного использования. Пользовательские отзывы о 3D без очков, используемого в приставке Nintendo 3DS, недвусмысленно намекают о несовершенстве этой технологии. У Apple есть, что предложить взамен.
Прозрачные экраны — лишь одна из многих идей Apple по увеличению возможностей дисплеев мобильных устройств. Другая, еще более любопытная технология — дисплеи с несколькими прозрачными слоями, использование которых позволяет отобразить 3D-картинку без нужды использования специальных очков. Каждый из таких слоёв управляется отдельным процессором и способен затемняться до непрозрачного состояния.

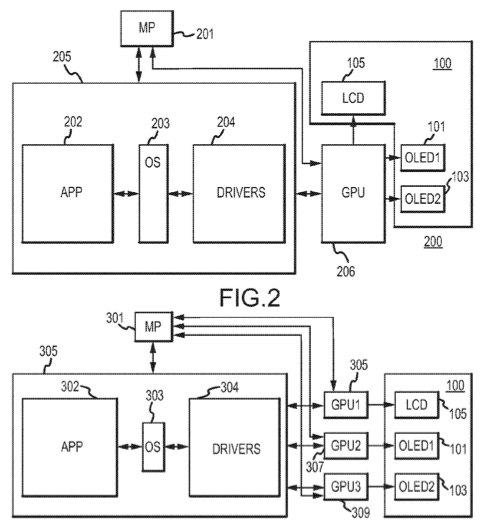
Использование OLED-панелей имеет свои преимущества перед традиционными дисплеями, потому как панели OLED не требуют подсветки для функционирования и потому могут быть намного тоньше и легче, чем обычный LCD-экран. OLED-панели способны отображать глубокий чёрный цвет и имеют высокую контрастность.
— Apple

Однако полностью от LCD-экранов пока отказаться невозможно. Самый дальний от пользователя слой экрана не будет выполнен по технологии OLED и будет представлять из себя обычный дисплей. Остальные слои будут отвечать за 3D-эффекты. Если взять за пример OS X, панель меню и открытые программы будут отображаться на разных панелях. При переключении на какое-либо приложение, все лишние элементы на экране будут перемещаться на дальний дисплей и затемняться. Иными словами, это не совсем то 3D, которое мы видим в телевизорах и консолях в последние годы. Понимание всей системы функционирования такого «бутерброда» может придти только после глубокого анализа всего текста патента. Если вам удалось представить то, как вся вышеописанная система будет работать и, еще более важно, выглядеть — поделитесь своим открытием с нами. [ai]



Да, а чего тут непонятного? Просто визуально все окошки и панельки будут на “разной высоте”. Если речь про Cinema Display то разница глубины может быть до 1см, иначе говоря: повесьте перед собой два листа А4 на расстоянии друг от друга 1см – вот этот эффект. Достаточно приятный эффект. Но такая конструкция будет громоздкой (3 слоя по 1 см + сами панели 2-3мм и получаем ~4см один только дисплей)
@sergey171, а разве известно сколько мм один слой?
@evdakov, Известно. Минимальный технически возможный олид слой на сегрдняшний день составляет 2,3 мм.