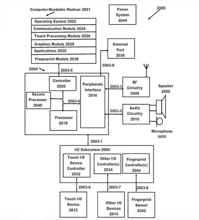
Патентное Бюро США опубликовало новую заявку от Apple, в котором описывается метод вызова спасателей с помощью отпечатков пальцев.

Пользователю достаточно прикоснуться к сканеру отпечатков с определенной последовательностью, и спасателям поступит вызов. Причём находиться в этот момент можно перед злоумышленником.
Кроме того, при активации функции экстренного вызова iPhone блокирует доступ к данным и записывает аудио и видео.


А как узнать, набрал ли ты правильную последовательность, или со страху перепутал? Ерунда, по-моему.
@kaphicurnam, виброй подтвердит скорее всего
@airslider, и после непонятного з-з-з в кармане получаешь пару дырок в голове.
@somebodythatiusedtoknow, на нынешних айфонах вибрация почти беззвучная
@AlexMacreall, у вас наверное нет айфона
@kaphicurnam, Siri скажет “Спасибо, что воспользовались кнопкой экстренного вызова. Полиция уже едет. Оставайтесь на месте”.