Одно из любимейших занятий Apple — патентовать новые разработки. Не важно, что до их внедрения в конечный продукт дело может так и не дойти — документальный вопрос закрыт и в компании спокойны.
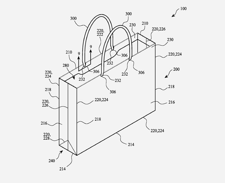
Но очередной патент Apple уж точно скоро выпустит. В Патентное Бюро США еще в марте этого поступила любопытная патентная заявка, описывающая принцип построения… бумажного пакета… С гибкими ручками!

Нет, никаких встроенных датчиков, аккумуляторов и дополнительных технических ухищрений. Это просто пакет. Пакет от компании Apple.
В чем его особенность? Он просто более чем на половину состоит из экологичных материалов. Ручка выполнена из бумажных волокон и он призван сохранить окружающую среду.
Как думаете, Apple все-таки оснастит свое изобретение новыми фичами? Что он сможет? Вероятно, что очень скоро в компании представят Пакет 2.0: уберут ручки и улучшат принт. Кто знает… [UsPto]





Хозтовары на очереди: освежители, туалетная бумага и тдтп :)
@maclex, освежитель с ароматом яблока, туалетная бумага растворяющаяся в воде, как упаковка от наушников:)
@kubachi, Туалетную бумагу с изображением Кука. Тогда Кук побывает во всех задницах пользователей Apple )))
@maclex, По стопам Сяоми!))))