Задавались ли вы вопросом, а вдруг Apple готовит к выпуску не простой электрокар? Может это должно быть общественное транспортное средство? И вот вам повод задуматься над этим.

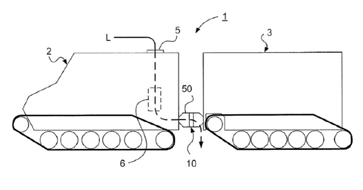
Купертиновцы зарегистрировали патент на «Рулевое устройство для сочлененного транспортного средства». Он описывает способ соединения двух частей ТС. В самой же заявке говорится:
Проще говоря, Apple зарегистрировала «растягивающийся» способ соединения двух частей автотранспорта, по типу мехов гармони. Патентная заявка была подана от лица компании BAE Systems.
Так что же нас ждёт к 2020 году? Будем следить за развитием событий. [Patently Apple]



iBus
Или
Bus X
А может
Bus XX
В 30м гаду будет
Bus XXX
@Pavel Loskutov, MacBus? SierraBus?
@Pavel Loskutov, BangBus будет)
@Кот Стива Джобса, iPussyWagon.
Кстати, а как заголовок связан с содержанием новости? Или вы решили все же поддерживать новую традицию и не связывать эти вещи (а так же не проверять факты, меньше задумываться о целевой аудитории и т.д.)?