
Apple продолжает совершенствовать камеры своих мобильных устройств. Правда пока лишь на бумаге. Новый патент американской компании описывает работу камеры с режимом безфокусной съемки, позволяющей вручную установить фокус на уже сделанном снимке. Иными словами, Apple получила патент на технологию съемки светового поля, которая до сих пор развивалась усилиями энтузиастов из Lytro.
Сразу же следует сделать оговорку, что описываемая камера является подключаемым модулем с собственным набором линз. Точно такую же конструкцию имеет Lytro, технологию работы которой мы уже подробно описывали почти два года назад, а впоследствии опубликовали и полноценный видеообзор. Но схема работы камеры из патента Apple несколько отличается.
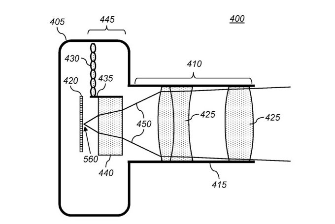
Так, например, камера от Apple способна делать снимки с неизменным фокусом в высоком разрешении или же с изменяемым, но в более низком разрешении. Согласно патенту, на корпусе камеры разместится переключатель, позволяющий изменять режим съемки. Совершенно очевидно, что конструкцию камеры в Купертино позаимствовали у Lytro, но при этом разработка Apple позволяет улучшить качество итоговой фотографии за счет использования линз с более высоким пространственным разрешением.

Стив Джобс страстно желал изобрести фотографию заново, как в свое время произошло с телефоном. Данный патент Apple – это определенно серьезный шаг в этом направлении. Заявка на его получение была подана еще в 2011 году. В данный момент сложно представить реализацию описанной в документе камеры в каком-либо из существующих устройств Apple. Зато это вполне можно сделать в виде подключаемого адаптера или же полноценной камеры. Посмотрим, к чему приведет подобный интерес американской компании к съемке светового поля. [MacRumors]




Как всегда. Эппл своровала идею и запатентовала.
@var999, Почему своровала? Разве они не купили Lytro еще два года назад?
@PelmenefabrikA, неа они их не покупали более того год назад камера пошла в серию, продажи оказались провальными, и это понятно если узнаете что у нее разрешение 1,3 мегапикселя в сравнении с обычной матрицей, думаю не у кого не возникнет желания покупать это за такие деньги
@var999, и что?
@ChinChilla, Очень убедительно. Они не купили – они своровали. Они не воровали. Они купили. Нет! Они своровали. Скорую!!!
@var999, Что? Как всегда, лишь бы что ляпнуть. Что показывает скудоумие некоторых школьников. Да будет Вам известно, что запатентовать любую вещь невозможно, по той простой причине, что в патентном бюро проверяется абсолютно все и вся, и многие патенты делаются годами. И если такой патент был выдан, то это означает то, что в нем описаны принципы, которые отличаются кардинально. И что-то украсть в таком случае нельз, особенно если был выдан патент. Как говорят обитатели хобота, – “Учи матчасть сынок”.
@Хомяков Евгений, Папик, у меня были отличные оценки по Патентоведению в своё время. И, в отличии от некоторых скудоумных, понимаю, о чём говорю. Украсть идею, это не украсть патент. Разницу папа чувствуешь?
@var999, 10 балоов за ответ. тоже не очень понимаю, куда смотрят создатели литро.
@var999, Ахах, не попал! За знания двойка, за смелость так и быть тройку нарисую с минусом. Домашнее задание для Вас на дом, записывайте:
1. Почитать на досуге о “Теории светового поля”, особенно обратить внимание на даты, а потом подумать о том, кто и укого что позаимствовал, что кому принадлежит, и в чем собственно весь сок.
2. Обратить внимание на патенты, которые имеются у “Lytro” и сравнить с тем, что имеется в новости. Проанализировать количество используемых линз, и общую схематику устройств. Сделать выводы.
Судя по тому, что Вы замолвили слово об “Патентоведении”, делаю вывод о том, что Вы – выпускник банального Колледжа (бывшего ПТУ), не имеющего даже нормальных профильных основ, и Ваши знания, как и область нашей дискуссии, является для Вас непролазным дном. И выражено это в том ключе, что то, что Вы называете идеей, является ее непосредственной реализацией, которая оформлена в виде патента. При этом, реализации у Apple и Lytro, идут вразрез, что прямо подтверждает то, что никакого “Патентоведения” у Вас не было и в помине. Так что, – “Учи матчасть сказочник! За сим я удаляюсь, ибо вести спор с твердолобыми и скудоумными людьми, которые думают о том, что они думают – пустая трата моего времени.
@Хомяков Евгений, +100500 зачет