
Рано или поздно Apple прекратит продажи iPod classic, это лишь вопрос времени. Прекратит, и всё, в линейке не останется ни одного устройства с легендарным сенсорным колесом Click Wheel. Впрочем, о самом колесе как о крайне удачном элементе управления забывать не стоит. Оно ещё может найти своё применение, скажем, если Apple уделит внимание автомобильной индустрии.
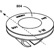
Название патента, который на днях опубликовало Бюро по регистрации патентов и торговых марок, ничего особо «вкусного» не сулило. Сами посудите: «Беспроводной пульт управления портативным медиа-устройством». Но за бюрократией прячется идея, определённо имеющая право на существование. Click Wheel в данном случае — это не компонент другого устройства, это специальное кольцо, которое цепляется на руль. По беспроводному протоколу (например, по Bluetooth) оно соединяется с неким девайсом (iPhone, iPod touch), который, в свою очередь, подключен к автомагнитоле. И водитель может управлять воспроизведением треков с руля — только не кнопками, как сейчас принято, а превосходным сенсорным колесом. Верхнюю панель Click Wheel, кстати, можно поворачивать, чтобы колесо имело горизонтальную ориентацию вне зависимости от расположения на руле (см. последнюю картинку):

С одной стороны, значение патентов не стоит недооценивать, с другой — между регистрацией идеи и её реализацией могут пройти годы. Например, iPad именно в том виде, в каком мы привыкли его видеть, был запатентован ещё в 2004 году — за шесть лет до выхода на рынок. [via patently apple]





12 комментариев
Форум →