
Новая модель уже существующего в продаже устройства должна хотя бы минимально отличаться дизайном от прародителя. Apple известны своим консервативным подходом к дизайну ноутбуков, но каждый новый iДевайс всё же отличается от старого: либо неприметной мелочью, как «яблоко» и текст сзади iPhone 3G и 3Gs, либо кардинально, как «четвёрка» и любой айфон прошлых поколений. iPad образца 2011 года может удивить нас в первую очередь именно своим внешним видом: купертиновцы размышляют, куда бы приладить один модный, легкий и симпатичный материал.
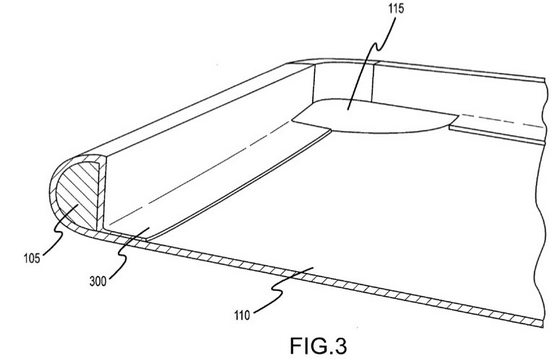
Спустя период интеллектуального затишья, перед нами очередной патент от Apple. Называется соответственно содержанию: «Упрочнённый корпус устройства» (“Reinforced Device Housing”). В нём разъясняются детали применения покрытия из углепластика, в народе известного как «карбон» (от англ. “carbon” — углерод). На прилагающихся изображениях виден корпус некоего устройства, по форме и расположению элементов напоминающего iPad.

Apple в тексте патента отмечают: корпуса из пластика часто трескаются, в отличие от металлических. Но производство последних обходится компаниям дороже, а сам материал часто является причиной увеличения веса готового устройства. Углепластик в данном случае — почти идеальное решение: он лёгкий, очень прочный и устойчивый к царапинам.
Как всегда, ребята из Купертино пошли чуть дальше.
По их мнению, заключить все содержимое устройства в карбоновый корпус недостаточно для достижения желаемого результата. При определённых обстоятельствах даже такое покрытие может натурально лопнуть — к примеру, при воздействии на него против направления составных частей материала.

Решение этой проблемы — установка углепластика на каркас из… углепластика, либо установка еще нескольких слоёв материала, углеродные пластины которых направлены в противоположную сторону относительно друг друга. Для электроники вроде iPad также потребуется установка каркаса по периметру девайса. Патент был подан еще 18 мая прошлого года, но был выложен в публичный доступ лишь на этой неделе. Какова вероятность появления карбона в новом iPad? И хотели бы вы, дорогой читатель, такой планшетник? [ai]



ммммм обожаю карбон
очень красивый чехол для ipad
я себе хочу купить такой-же на iphone
У меня есть такой едва ли не у первого в Мск. Могу помочь с приобретением.
А я чехол прозрачный для четверки карбонит обтянул и зеркальная пленка на экран ваще sexy получилось))))))
обтянул пленкой чтоль?
Ну да которая для машин( ее надо нагревать чтоб приклеилась в потом загибать я думал что у меня руки расплавяться))))))
Ну это не айс. Настоящий карбон рулит. А пленка – это как безалкогольное пиво или резиновая женщина.
))))) но смотриться прикольно и все бесплатно а углерод дорогой жесть
помоги пожалуйста если не сложно
только мне для iphone
Сюда напиши [email protected] у них брал. Стоит на айфон 2999, если сказать пароль, что с сайта iphones.ru, то обещали скидку 5%.