
Очередной яблочный патент на днях всплыл на просторах сети Интернет. На этот раз купертиновцы придумали своеобразный док, в который можно вставить будущие iУстройства компании как в горизонтальном, так и в вертикальном положении. Как же они будут заряжаться? Очень просто — через заднюю панель дока.
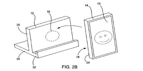
В миру патент назвали «Методы и аппаратура для подключения портативных электронных устройств, имеющих плоскую поверхность и работающих в различных ориентациях». Apple подала заявку на его регистрацию еще 25 марта этого года. В документе описана док-станция, которая на первый взгляд слабо отличается от имеющихся аналогов для iPad и iPhone. Различие состоит в наличии симметричного порта подключения, поддерживающего любое положение установленного в док устройства.

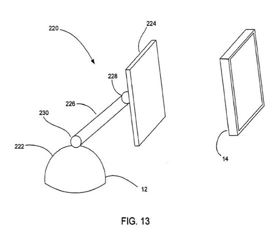
В задней части дока, на которой обычно лежит или опирается iДевайс, расположены плоские электрические контакты. По задумке Apple, аналогичные контакты должны быть установлены в заднюю панель подключаемого устройства. Тогда оно сможет заряжаться и синхронизироваться с компьютером в любом положении — мечта владельцев iPad. Кстати, в патенте был описан еще один интересный док, чем-то напоминающий iMac начала третьего тысячелетия:

Жаль, что применение столь необычных док-станций пока невозможно — подключать-то нечего. У Apple на руках скопилось огромное количество самых разнообразных патентов. Однако появления их всех в осязаемой форме — новых продуктах, — ожидать не стоит. Во всяком случае, в этом году. Что получилось бы в Купертино, соедини они все свои патенты в одно устройство? [appleinsider]

Эти типа как электрозубные щетки :)