
Бюро по регистрации патентов и торговых марок США вчера опубликовало патент компании Apple, который касается новой технологии управления сенсорными гаджетами. Если в прошлые годы сам мульти-тач был революцией, то сейчас Apple решила позволить пользователям строить 3D объекты прямо в воздухе, разработав технологию для сенсорных гаджетов.
Патент, поданный на рассмотрение в Бюро в январе 2012 года, называется «Работа с 3D объектами» только вчера получил одобрение комиссии.

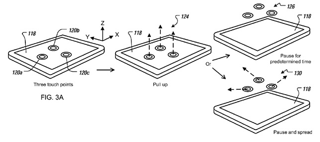
Технология распознаёт положение пальцев пользователя, используя как ёмкостные датчики прикосновений, так и бесконтактные датчики распознавания. Новая функция позволит строить 2D и 3D формы, отрывая пальцы от экрана.
Кроме специальных программ, заточенных под графику, такая технология может быть применена в управлении девайсами. Однако насколько быстро она попадёт в гаджеты массового производства говорить пока еще рано [patft].

11 комментариев