
Планшетник iPad, он такой. Кому-то гитарные струны заменит, а кому-то — целую голову.
Хоть эти два патента зарегистрированы не на саму Apple, а лишь на сторонние фирмы, они всё равно достойны внимания. Первый описывает “мобильного робота” — передвижную док-станцию для планшетника, “такого, как iPad от Apple”. Сенсорное устройство является «мозгом» робота, в то время как нижняя часть обеспечивает двигательные функции. Под держателем вы можете видеть два сенсора (WALL-E?), которые следят за поверхностью перед роботом и позволяют ему на своих трёх колесах объезжать препятствия. Всё это — посредством облака — управляется с некоего удалённого контроллера.
Примечательно, что фирмой-владельцем патента является американская iRobot, никак с Apple не связанная. Также не пропустите корзинку на спине мобильного робота. В ней, если верить патенту, может содержаться “полезный груз”.
Основной областью применения устройства разработчики считают медицину. К примеру, специалист может давать советы по лечению больного, даже находясь на другом конце земного шара:

Про гитару расскажет один из авторов патента — Ульрих Беринджер:
[Гитарные] игровые устройства и музыкальные видеоигры необычайно популярны. Однако такие “искусственные” гитары не дают реального ощущения от игры на музыкальном инструменте. Гораздо большей популярности можно достигнуть, предложив реализм вкупе с относительной простотой игры и относительной дешевизной. Таким образом, существует потребность в совершенствовании “искусственных” гитар.
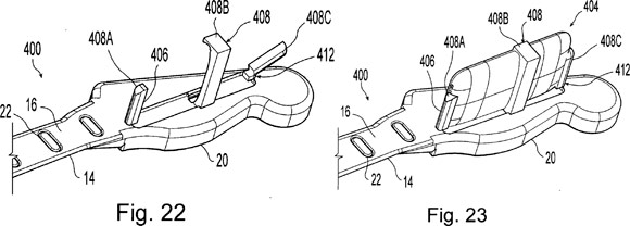
Гитара в данном случае — это тоже док-станция. Да не для одного устройства, а сразу для двух. Первое (iPad) располагается внутри корпуса, через него как раз можно играть. Второе (iPhone или iPod touch) помещается на гриф, “лицом” к новоиспечённому музыканту. Младший девайс может нести как чисто информационную, так и управляющую функцию. Примеры — показ нот и выбор музыкального трека соответственно.

Вместо ладов у гитары — сенсорные зоны. Вы зажимаете их пальцами левой руки, а правой касаетесь виртуальных струн на экране iPad. Консольный Guitar Hero плюс сенсорный GarageBand равно любовь! [patently apple via 9to5mac]



Ваша статья огорчает Gibson. Пожалуйста, удалите ее.
@Синий Апельсин, hahah i see what you did there)))