
Внушительный список приспособлений и дополнений к iPhone обещает пополниться достаточно экзотической, но весьма актуальной в нашем климате вещицей. Дело в том что в Патентное ведомство США подана заявка на перчатки для использования совместно с мультисенсорными (multi-touch) устройствами в странах с суровыми погодными условиями.
Заявка описывает способ решения проблемы управления мультисенсорными устройствами вроде iPhone или iPod в холодную погоду, когда контакт с кончиками пальцев пользователя невозможен в случае использования традиционных перчаток.
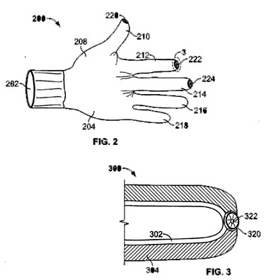
Изобретатели предложили решение вопроса с помощью применения в перчатках внутреннего дополнительного слоя из материала, имитирующего прикосновение подушечек трёх «основных» пальцев к сенсорному экрану. «Диафрагменный» принцип доступа к внутреннему эластичному слою позволяет делать перчатки практически полностью утеплёнными при постоянном ношении. Для открытия доступа к «искусственным подушечкам» могут использоваться как специальные эластичные кольца, так и снятие хитроумных защитных «крышечек».
Поскольку 3DNews]
Новость по теме
– Перчатки Dot Gloves
– Минус 35 — полет нормальный. iPhone прошел испытание в жуткий мороз



лучше б кто-нибудь изобрел зимний чехол с подогревом. я на затянувшихся праздниках попал в обстановку -20 и ниже по цельсию, алюминиевое тело колеет за пять минут, проведенные на свежем воздухе, и тупо вырубается. штанцы, в кармане которых он содержался обычно, не спасали ни коим образом, приходилось постоянно перекладывать телефон во внутренний карман